EA хочет натравить на читеров искусственный интеллект

EA хочет натравить на читеров искусственный интеллект

Drako

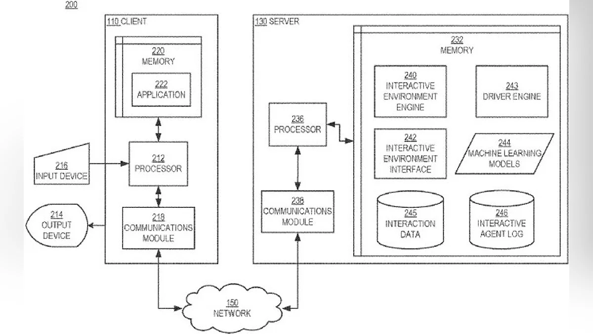
Компания Electronic Arts запатентовала систему, которая призвана отслеживать поведение геймеров в онлайн-играх и блокировать тех, кто нарушает правила. Она будет основана на искусственном интеллекте (ИИ).

Как утверждается, система сможет отслеживать программных ботов и читеров, поскольку их поведение отличается от нормального для игроков. Таким образом, ИИ будет разделять игроков по категориям и анализировать их действия в игре.

Пока что это только патент, то есть готовой системы может и не быть, во всяком случае, о разработке ничего не говорилось. Так что пока читерам ещё не стоит беспокоиться. Впрочем, не исключено, что какая-нибудь будущая версия Battlefield, FIFA или Need for Speed всё же получит новую систему защиты.

💥 S.T.A.L.K.E.R, но рогалик и с коопом: в топ Steam влетела Misery
    Коментарі18